Survekeevitus

iDevice ikoon Punktkontaktkeevitus (punktkeevitus)
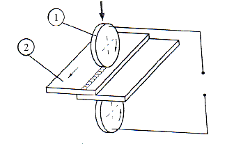
Punktkontaktkeevituse puhul pannakse keevitatavad detailid teineteise peale. Koostatud ja märgitud metall-lehed paigutatakse kahe vaskelektroodi vahele, millesse juhitakse vool. Elektroodide vahel metall kuumeneb voolust metallehtede vahelisel elektritakistusel ja kokkusurumisel keevitub ühes punktis. Selliselt keevitatakse õhukesest metallist detaile autode, reisivagunite ja lennukite tootmisel ning majapidamisriistade valmistamisel.
1. Vaskelektrood – медный электрод
2. Keevitatavad detailid – свариваемые детали
1.5 Punktkeevitus  


iDevice ikoon Joonkontaktkeevitus (joonkeevitus)

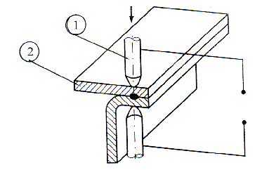
Joonkontaktkeevituse puhul surutakse keevitatavad detailid kokku pöörlevate elektroodide (rullide) abil, millest lastakse läbi vool metalli kuumutamiseks ja sulatamiseks. Vool võib olla pidev või lühiajaliste impulssidena. Iga impulsi tulemusena moodustub keevispunkt, kusjuures tiheda õmbluse saamiseks punktid osaliselt katavad üksteist. Seda keevitusviisi kasutatakse õhukeseseinaliste balloonide, paakide, tulekustutite ning muude toodete valmistamisel.

1. Vaskelektrood – медный электрод
2. Keevitatavad detailid – свариваемые детали
1.6 Joonkeevitus