Keevituselektrood
2.6. Keevituselektrood
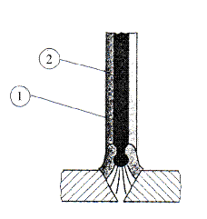
1. Elektroodi varras - стержень
2. Elektroodi kate – покрытие
Kaarkeevitusel kasutatakse sulamatuid ja sulavaid elektroode. Sulavad elektroodid tehakse traadist või
lindist, mille keemiline koostis on ligilähedane keevitatava metalli omale.
Katte järgi tähistatakse ja liigitatakse elektroode järgmiselt:
A – happeline kate, mis sisaldab raua, mangaani, räni ja harvemini titaani oksiide. Saadav õmblusemetall on tugevasti oksüdeerunud ja suure tihedusega, keevitada saab nii alalis- kui ka vahelduvvooluga.
B – aluseline kate, mille peamine koostisosa on kaltsiumfluoriid või kaltsiumkarbonaat (kriit, marmor). Keevitada tuleb vastupolaarse alalisvooluga.
C – tsellulooskate. Tsellulooskattes on peamised koostisosad tselluloos, jahu jt. orgaanilised segud, mis soojuse mõjul gaasistuvad ja moodustavad kaarevahemikus hea gaasikaitse ning katavad sulametalli õhukese räbukihiga.
R – rutiilkate , mille peamine koostisosa on rutiil (TiO2). Kaar põleb püsivalt ja võimaldab keevitada igas asendis nii alalis- kui ka vahelduvvooluga. Seejuures tekib väh e pritsmeid.
Terminid
happeline kate – кислое покрытие
aluseline kate – основное (базисное) покрытие
tsellulooskate – целлюлозное покрытие
rutiilkate – рутиловое покрытие
raud – железо
räni – кремний
happeline kate – кислое покрытие
aluseline kate – основное (базисное) покрытие
tsellulooskate – целлюлозное покрытие
rutiilkate – рутиловое покрытие
raud – железо
räni – кремний